#hejtobry, cześć hej(t)o. Dzisiaj mamy 30 listopada. Słoneczko wschodzi o 07:19 (1 minuta później), a zachodzi o 15:30 (1 minuta wcześniej) w porównaniu do wczoraj. A co więcej:

  1. Dzień Pamięci Ofiar Broni Chemicznej - pozdrawiam wszystkich, którzy musieli wejść do łazienki po starym. W tym dniu jednoczymy się.

  2. Dzień Białych Skarpetek - God damn I love being white!

  3. Dzień Bezpieczeństwa Komputerowego - pamiętajcie, aby raz na jakiś czas wgrać apdejty do aplikacji, czy Łindołsa. I że ta obietnica zarobku 10000 nie wychodząc z domu i powiększenia siura o +20cm (OSTROŻNIE) to niestety fejki.

  4. Historyczne państwo zwane Wielkim Księstwom Toskanii było pierwszym na świecie państwem, które zniosło karę śmierci. W sumie ja bym przywrócił dla niektórych przypadków pod warunkiem niezbitych dowodów i świadków - morderstwa, zbrodnie wojenne, sabotaże, dodawanie rodzynek do sernika, gwałty, wielomilionowe kradzieże, czy niszczenie dziedzictwa kulturowego.

  5. W 1858 John Landis Mason opatentował system zamykania słoików, gdzie w słoiku robi się charakterystyczne rowki (gwint) i dodaje do tego metalowy dekielek. Dlatego też w j. angielskim na zamykane słoiki mówi się „Mason jar”. Prawdziwy one man one jar. Foto patentu z numerkiem 2 po wpisem.

  6. W 1872 w szkockim Glasgow odbył się pierwszy oficjalny międzynarodowy mecz piłki nożnej - pomiędzy nią a Anglią. Szkoci strzelili bramkę, ale dotknęła górnej taśmy (wtedy nie było poprzeczki), przez co bramka nie została uznana, stąd mecz zakończył się remisem.

  7. W 1839 E. K. Haynes opatentował… osłony lampy (abażur?). Nie sądziłem, że takie coś wymaga patentu. Fotka nr 3 pod wpisem.

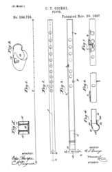
  8. W 1897 Carlo Tommaso Giorgi zaprojektował i opatentował 11-otworowy instrument bezklawiszowy, czyli FLET. Dziękujemy. Dzięki niemu powstała najpiękniejsza fletowa nutka EVER - My Hear Will Go On. W komentarzu.

  9. W 1959 IBM dostarczyło dwie pierwsze dwie sztuki komputerów 7090 do LLNL (czołowy instytut badawczy w na świecie posiadający obecnie najszybszy superkomputer świata). Modele 7090 były potężne jak tamte czasy - zarówno rozmiarowo i wydajnościowo. Jeden z nich kosztował wtedy ok. 3 mln USD (obecnie ok. 23 USD). Fotka kompa poniżej z numerkiem 5.

  10. Od 1990 zniesiono restrykcje można znowu małpki kupować przed 13:00. Po co ta zmiana, komu to potrzebne? Tak by chodniki byłyby prostsze… i mniej śmieci w krzakach. I może byłbym w stanie określić, czy mój sąsiad wczorajszy, czy już dzisiejszy jak go czasem rano widzę walczącego z grawitacją.

  11. W 1993 premierę miał film „Lista Schindlera” - bardzo ciężki klimat, w ogóle nie mój typ filmów, ale obejrzałem ze względu na oceny i polecajki. Na końcu zbierałem szczękę z podłogi. Film z gatunków, które raczej nie chcesz oglądać, ale co najmniej raz w życiu wypada, bo i tak go nie zapomnisz. I ta czerwony płaszczyk, eh...


W 1667 urodził się Jonathan Swift - irlandzki pisarz, znany z powieści „Podróże Guliwera”, która jest głównie o wewnętrznej podróży głównego bohatera, a całość jest okraszona w mocno satyrowej otoczce.

W 1768 urodził się Jędrzej Śniadecki - polski chemik, biolog, naukowiec i ogólnie lekarz. Jest autorem bardzo, bardzo wielu publikacji i podręczników, a wprowadzona przez niego terminologia była jeszcze używana w polskiej szkole w latach 70 XX wieku. Znalazł także przyczynę powstawania choroby choroby kręgosłupa - krzywicy i zaproponował jej rozwiązanie, czyli wystawianie pacjentów na słoneczko, bo mieli oni srogie niedobory witaminy D.

W 1937 urodził się Ridley Scott - brytyjski reżyser znany ze stworzenia uniwersum Łowcy Androidów oraz Obcego (ponoć to jedno uni). Dziękujemy za fajne filmy niewymagające myślenia.

W 2013 zginął Paul Walker - aktor znany z „Szybkich i Wściekłych”. Ironicznie zginął w wypadku samochodowym z powodu nadmiernej prędkości. To na jego cześć powstała piosenka „See you Again” autorstwa Wiza Khalify, która jest jedną z najczęściej odtwarzanych na YouTube - aktualny licznik wskazuje na ponad 6,8 miliarda odtworzeń.

W sumie było jeszcze kilka fajnych patentów jak naciąg do linek do namiotów, zmiany prędkości silników elektrycznych, lodówek, czy gilzy do rolowania papierosów, ale to by było już za dużo. Wyjątkowy patentowo dzień.

Pozdrawiam cieplutko, a skoro o słoikach dzisiaj mowa, to jako Ślązak pozdrawiam (hehehe) warszawskie słoiki, mam nadzieję że dobrze trafiłem (na podstawie warszawskiego hejtopiwo) - @Yes_Man, @macgajster, @myoniwy, @fonfi, @Zielonywewszystkim oraz @PanNiepoprawny. I tak, piłem coś xD

A i w sumie summon @ErwinoRommelo bo st00pki

#ciekawostki #ciekawostkizdupy

245dff0b-7c1c-4d81-87c0-1a529bc7ba8c
#nsfw
999af0a2-0d98-4827-82df-5ab31ae4bbf5
#nsfw
229e2175-c592-45c6-b15e-c76a7df4a8e9
#nsfw
e810bfb5-5868-4c87-9618-a273eaeeccdd
#nsfw
25ff4e9b-5582-4a49-b8a3-8055d7b70779
#nsfw

Komentarze (46)

Atexor

@Felonious_Gru ło kurde, szybkiś. Polowanie jak na hejtonews po 20 i hejtostats o 21 xD. Dżem dobry!

Atexor

Wspomniany best flute-ever. Jak ktoś nie słuchał, to musi nadrobić :P
https://www.youtube.com/watch?v=X2WH8mHJnhM

vredo

@Atexor Pujdzie mi na tym gta sa nandreas czy bedzie cieło?

2972bf78-370b-4de6-9228-04c65a027d65
Atexor

@vredo będzie "lekko" ciężko. Ale sprawdziłem dla DOOMa ( ͡° ͜ʖ ͡°)
Ten IBM posiadał 32 768 słów, co przy 36 bitach daje 1 179 648 bitów, czyli 147 456 bajtów, czyli 144 kb. Jak spojrzysz na grafikę poniżej, DOOM wymaga 4mb. No i klops. Ale Ping-Ponga dałoby radę (oryginalny Pong w ogóle nie miał pamięci, był zrobiony na bramkach logicznych), a znalazłem w necie wątek że jakiś pozytywny świr postanowił go zrobić na 256 BAJTACH.

572ea2c3-73ef-45f4-b2ae-332839d4c6cf
vredo

@Atexor Nie liczyłem na odpowiedź, jesteś wielki

ataxbras

@vredo Fakt, ale Wolfenstein już by poszedł

Atexor

@ataxbras 528kb ramu minimum, byłoby ciężko

Atexor

@ataxbras o cię luju. Ależ optymalizacja. I jak czytam to całkowita. Uwielbiam takich czarodziejów. Nie wiadomo po co tracą tyle czasu, ale zawsze robi wrażenie że chcą. W ogóle teraz widzę, że ma rating PG-13, a tu strzelasz do Niemców i trup się ściele XDDD

The original Wolfenstein 3D ported with full graphics, music and sound effects, running on 48 Kb of RAM on a single-chip, software video adapter that integer-scales a low-resolution frame buffer to an HD signal.

vredo

@Atexor Ale się fajny ciekawostkowy wątek rozwinął i to od jednego pytania. To jest prawda, nie ma głupich pytań.


Z takich dokonań "optymalizacyjnych" to postawiłem Windowsa XP na czymś z Siemensa bodajże, nie spełniało połowy minimalnych wymagań ale filmy na CDA hulały. Bo z minimalnymi wymaganiami jest jak terminem przydatności do spożycia na jogurcie - trzeba spróbować

ataxbras

@Atexor Ja jestem z czasów, gdy demka 4k nie oznaczały rozdzielczości, a ilość pamięci, którą to zajmowało :D
Tak, robi wrażenie. W tych zamierzchłych czasach sam brałem udział w konkursach na najbardziej skompresowany i nieczytelny kod w C.
Więc wiem, jak bardzo da się rzeczy uprościć/zalgorytmizować.

O, proszę, to dalej istnieje - https://www.ioccc.org
Przykład kodu - https://github.com/ioccc-src/winner/blob/master/2024/cable1/prog.c

Więc wariaci nie wymarli

Atexor

@vredo o, nieźle. To ja tylko jakąś starą Motorolę z Andkiem 2.x zaktualizowałem do 8.x. Bugowało ale działało, aż sam w szoku xD. A filmy na starym siemensie w sam raz dla rodziców - nic więcej im nie trzeba, a lepiej aby sobie klasyczki odpalili, a nie jakieś gunwa co lecą w TV :D

@ataxbras kojarzę ten konkurs, tylko w linku co dałeś kod jest po prostu nieczytelny. Pamiętam, że kiedyś robili w kształcie choinki, albo kuli... i działało xD

LaMo.zord

@Atexor kurde nie pamiętam dokładnie ale DOOM był kiedyś odpalony na czym a'la zegarek/kalkulator.

Napewno było tam jakoś szczątkowo z ramem i prockiem

ataxbras

@Atexor On ma być nieczytelny :)
A te w różnych kształtach też pamiętam, ale to nie ten konkurs. W tym chodzi o upchanie jak najwięcej, w jak najmniejszym kodzie. Więc czasem użyte ASCII są zarówno danymi, jak i kodem. Inne przykłady code golfingu - https://jakegines.in/notes/code-golf

ataxbras

@Atexor Ach, i jeszcze z tego co pamiętam to ten IOCCC miał limit pamięci w kilku setkach bajtów, ale teraz już nie ma.


@LaMo.zord Pełny Doom ma minimalne ograniczenia. Widziałem odpalanie na różnych sprzętach, ale czasem to było tylko intro. Poza tym sprzęty typu lodówka czy zegarek, mają teraz procki i pamięci przebijające wielokrotnie wymagania Dooma.

Tutaj najmniejszy port, jaki znalazłem - https://kilograham.github.io/rp2040-doom/speed_and_ram.html

LaMo.zord

@ataxbras ale nie, że jakoś ostatnio

To już było dobrą chwilę temu i chodziło o jakiś dość leciwy "sprzęt". Kurde nie chce mi się szukać XD

Coś tam było mocno oszukiwane, ale była to "pełna" wersja. Chyba coś z paletą barw było kombinowane, ale nie dam sobie nic uciąć

ataxbras

@LaMo.zord Jak znajdziesz, to daj znać, z chęcią obejrzę.

ataxbras

@fonfi Ale to nie jest gra uruchomiona na bakteriach, tylko ekran z nich zrobiony, pokazujący obraz z gry.
Bakterie nie brały żadnego udziału w przetwarzaniu gry.

Gustawff

Po co komu siur 45 cm?

cebulaZrosolu

@Atexor w sumie chyba tylko @macgajster i @fonfi mieszkają w Warszawie z tych co wymieniłeś

Atexor

@cebulaZrosolu no to tym bardziej słoikowe podróże (╯°□°)╯︵ ┻━┻

macgajster

@Atexor w sumie, to nie jestem słoikiem

Atexor

@macgajster sorka, ale i tak niesmak pozostał... Trzeba było jechać na inne hejtopiwa, a nie do tego siedliska zła i rozpusty

macgajster

@Atexor tylko tu doznam tego co tak bardzo kusi...

macgajster

@Atexor ej, zapomniałeś jeszcze o @sireplama i @AndrzejZupa !

Atexor

@macgajster cooo...? @sireplama? @AndrzejZupa?
Fuuuj... Jak dobrze, że memy z nimi już czekają. Będą mieli za swoje. Mogę wybaczyć obrażenie mnie i mojego majonezu Winiarego. Ale mieszkania w Warszawie jako ŚLUNZOK nie wybaczę.

2e7d5815-dcd8-489f-be2e-0dce7a33568b
macgajster

@Atexor winiary to wiesz do czego się nadaje... To nie wstyd mieć jakieś inne kubeczki smakowe czy coś

sireplama

@Atexor @macgajster onienienienienie... Mnie ostatnio mama pytała czy chce słoiki, a ja odmówiłem! JUŻ NIE JESTEM SŁOIKIEM!!!

fonfi

@sireplama ja nie jestem słoikiem bo zgodnie z definicją "słoik" jest do 100km. A ja do mamusi, do Radomia, spod domu mam jakieś 120km. Ja jestem WEKIEM.

sireplama
  1. /.../ +20cm (OSTROŻNIE) to niestety fejki.

@Atexor o nie ...

Hi-cube

@Atexor mam bardzo ważne pytanie!


Skąd bierzesz info o wschodzie i zachodzie słońca? Tak mnie tchnęło bo sam byłem zaskoczony jakiś czas temu jak gadałem z rodzinka przez WhatsApp że "u was o waszej 18 to jeszcze widno a u nas o 18 to już noc". Okazało się, że faktycznie administracyjnie 1h różnicy, ale geograficznie to już jakieś 1.5h


Tutaj wrzucam szybkie porównanie Zamość i Świnoujście

6f0b9e3a-ca99-4db5-a954-9ffdf60d24f6
a7762cd3-842c-4d2e-8143-d3379726b937
Atexor

@Hi-cube z tej stronki sobie zescrapowałem:
https://slonce.alternatywne.info/kalendarz/

A następnie obrobiłem w Excelu na cały rok, aby było szybciej, bo na początku pisałem i zaokrąglałem ręcznie. Potem dodałem swoją początkową formułkę. Picrel niżej xD

A z różnicami czasowymi tak jest. Często jeździłem za dzieciaka na Podlasie i tam było już grubo po 21-22 a nadal trochę jasno mimo, że zachód był ponad godzinę wcześniej. W takiej Norwegii to w ogóle białe noce to musi być odlot.

3d4c9269-6d29-455c-9ea5-cfd669dc5137
Atexor

O, @Asya widzę że żyjesz i polubiłaś wpis (dzięki :)). A wczorajszy mój widziałaś jak wołałem? Czekamy na wieści od kotów!

myoniwy

@Atexor 

zmiany prędkości silników elektrycznych, [...], ale to by było już za dużo.

Jakie za dużo? Prąd to przyszłość ludzkości.


A i słoikiem to ja nie jestem. W sumie w Warszawie to mieszkałem może ze 2 tygodnie.

Atexor

@myoniwy za dużo w sensie za dużo informacji jak na jeden wpis xD
Nie chciałbym, aby ludzie co czytają wpisy się znudzili i skipowali, więc wybieram - subiektywnie - najciekawsze rzeczy jakie wynajdę :). A prąd i owszem. Nawet zanim odkryliśmy prąd, dziesiątki tysięcy lat temu już nami rządził, choćby podpowiadał nam impulsami między synapsami, że nie warto walczyć w tym tygrysem szablozębym :)

A, i gratuluję niemieszkania w Wawie. Już się bałem, te #hejtopiwowarszawa zdradzieckie jest :P

PanNiepoprawny

Ja nie mieszkam w a Warszawie ani w niej nie pracuję/nie żyję 😛 Pizza tym jakbym miał liczyć, to już bym był wekiem a nie słoikiem 🙂

Atexor

@PanNiepoprawny u mnie wek to określenie miękkiego chlebka (bułki w kształcie chleba), ale domyślam się że chodzi Ci o słoik ogórków. Kiedyś tak się złapałem w innym. Regionie Polski xD


Ale dobrze dla Ciebie

PanNiepoprawny

@Atexor wek od wekiwania 🙂

Atexor

@PanNiepoprawny od czego O.o?

Atexor

@PanNiepoprawny też nie znałem, ale domyślałem się i googlnąłem i w sumie trafiłem :d

A weka-chlebka znasz?

d2a04e27-f503-42fb-98d3-e205ad3cc92f
PanNiepoprawny

@Atexor nie znam. Nie wiedziałem, że wekowanie to regionalizm

Zaloguj się aby komentować