Coś mi cyka pod osłoną klawiatury w gruzie
#mechanikasamochodowa #bmw

Coś mi cyka pod osłoną klawiatury w gruzie
#mechanikasamochodowa #bmw

@Fox czy to kolega świerszcz tak cyka? ( ͡° ͜ʖ ͡°)
@Fox może olej zmień? XD
@Odczuwam_Dysonans Zmieniłem! Mam ze 2-3% za dużo. A może się przypchało gdzie
chyba mam wrażenie że tylko jeden cyka.
@Fox regulacja zaworów? Jaki motór?
@LaMo.zord m43 118km w e46 2000
chyba mam wrażenie że tylko jeden cyka. I cichnie po nagrzaniu się.
@Fox czyli hydropopychacze, nie ma opcji regulacji. Jeśli zmieniłeś świeżo olej, to może być tak że jeszcze hydro się "wypłuka" bo tam w nim często się zbiera syf i nie reguluje jak powinien. Ale jak stuka dalej to albo wałek/szklanka wytarta, no albo właśnie sam hydropopychacz daje dupy.
@Odczuwam_Dysonans #3 jest zapaprany albo coś?
nie da się nic zmienić bez zdejmowania wałka?

@Fox no, jak się weźmie taki hydropopychacz i ściśnie imadłem, to zazwyczaj taki brudny gesty olej z niego wychodzi. Dlatego po zmianie oleju chwilę hydro zajmuje żeby się wyciszyć, muszą się przepłukać ale jakiś syfek zawsze tam siedzi, to jednak mocno pracuje. Bez ruszenia wałka nic nie zdziałasz. Możesz spróbować zrobić płukankę, albo po prostu skrócić interwał wymiany oleju. Niemniej jak to gruz, to chyba najlepiej jeździć obserwować, a jak się rozklepie na dobre to rozbebeszyć. Chociaż nie zaszkodzi ściągnąć dekiel i wizualnie ocenić czy coś tam się nie stało.
@Odczuwam_Dysonans "chwilę hydro zajmuje"
to już 2 miesiące
@Fox a to ja myślałem bardziej o dwóch minutach xD no to coś tam jest luźno, najlepiej chyba zrzucić dekiel. Albo olać xD
@Odczuwam_Dysonans Typ mi powiedział to szklanki klepią i że mi taniej by było motor wymienić niż porobić szklanki i ew te popychacze.
Zębatka jest przykręcana do wału z zewnątrz, i się zastanawiam czy sam bym dał radę to zrobić. Ale nie znam sił dokręceń a na łokieć boję się że ujebie coś. Do tego nie wiem czy tam się co nie reguluje.
A te śruby to normalne że one są przesunięte jakby?

@Fox jest chyba opcja żeby wymienić popychacze bez ściągania wałka, tylko trzeba mieć odpowiedni przyrząd - do sprawdzenia. Jak nie, no to pewnie idzie jakoś poznaczyć łańcuch, kółko, wałek żeby to później złożyć w tej samej pozycji, ale zawsze ustawienie rozrządu do sprawdzenia, no i do skręcania wałka dynamometr obowiązkowo. Obczaj sobie jakiś manual, ale myślę że tak, do ogarnięcia.
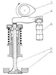
No i tak, zawory są tak umieszczone względem siebie

@Odczuwam_Dysonans zastanawiam się nad robieniem bo wałek można odkręcić od zębatki na nim może dałoby się zrobić bez zdejmowania łańcucha z rozrządu
@Fox tak, ale jak ugniesz zawór pod dźwigienką (czerwone), to prawdopodobnie dasz radę spod niej, po drugiej stronie, wyciągnąć popychacz (zielone). No tylko musisz mieć tłok na danym cylindrze w dole, żeby się ugiął do końca.

@Odczuwam_Dysonans to grozi wpadnięciem druta do cylindra. Wolałbym trytytką potrzymać żbey nie wpadło nic tylko czy tam trzeba regulacji? Czy da się pozmieniać szklanki i te hydropionki?
@Fox nie no, nie grozi jak nie rozepniesz zaworu - ale to tak jak pisałem, odpowiednie narzędzie do odpowiedniej roboty
@Odczuwam_Dysonans właśnie się boję że wałek w jakimś miejscu stracił swoją geometrię. A na końcach ramion nie ma jakiś śrub wkrętów do regulacji skoków? A tak wgl to gdzie te szklanki nie widze ich tam. Na tym moim foto.
@Fox nic nie stracił, spokojnie
EDIT: mój błąd, w 4cyl nie ma szklanek, jest hydropopychacz oparty bezpośrednio o dźwigienkę.
@Odczuwam_Dysonans właśnie widzę że to na ramiona wał idzie. A wgl to wlałem za gęsty olej. A napisali że zamiast 10w mam zalać 5w. Może się za bardzo lepi i coś nie odbija w porę i klika, do tego zawory może słabiej chodzą i jakby brakuje mocy. Muszę szukać kanału do tej operacji.
@Fox możesz spróbować, ale z reguły to właśnie na "rzadszym" oleju zmęczone hydro ma problem z napełnianiem się. Niemniej uważam że 5W40 to złoty środek dla większości "normalnych" silników (wiadomo, warto patrzeć na normy itp). Przy czym na 10W40 też ten silnik powinien chodzić kulturalnie. Ale ja bym lał 5W40, możesz mu przy okazji zmiany zafundować płukankę od Liqui Moly, nie zaszkodzi.
Zaloguj się aby komentować